Recherche chaudronnier pour pot de mesure 225 bar...

7 RÉPONSES https://instrumexpert.com/web/forum-topic/recherche-chaudronnier-pour-pot-de-mesure-225-bar https://instrumexpert.com/web/images/default-background-actualite.jpg
Sujet

Recherche chaudronnier pour pot de mesure 225 bar...

il y a 17 ans
Inscrit depuis 22ans carole

carole «Chargé de projets»

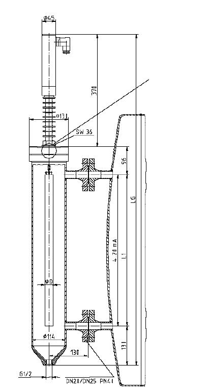
Pour u nprojet en pétro, je cherche à faire realiser 4 bouteilles de mesure inox pour radar TDR montage latéral sure la cuve (voir pour idée dessin ci-joint). Toutefois les specs indiquent une P de 70 à 225 bar!!!! Sart von rohr que j'ai consulté ne peu pas faire... tout comme certains chaudronnier. Quelqu'un peut-il me conseiller un fabricant ? Attention : travail ds les règles de l'art : contrôle radio des soudures + certificat, note de calcul, suivi dossier DESP,... Merci
il y a 17 ans
Inscrit depuis 21ans belle

belle «Technicien BE»

[Edit by="MODERATOR1"][/Edit] Bonjour la société SDMS est en mesure de réaliser ces appareils. Pouvez vous nous communiquez vos coordonnées ainsi que la pression maxi de calcul. Cordialement. Daniel BELLE - Responsable technique BE SDMS la chaudronnerie blanche
il y a 17 ans
Inscrit depuis 22ans BEINGE

BEINGE «Resp. BE»

Je vois que la société SDMS vous a répondu; vous pouvez aussi consulter la société L2M, ou la société CEFA; ces deux sociétés sont à même de pouvoir répondre à votre demamde.
il y a 17 ans
Inscrit depuis 21ans gmer

gmer «Chargé de projets»

Vous pouvez consulter ERTECH INDUSTRIE. Ils ont un site oû vous trouverez un contact
il y a 17 ans
Inscrit depuis 18ans oami

oami «Automaticien»

Bonjour, Avez vous essayé les entreprises des ports ayant des Chantiers navals ? et Gachot, s'ils existent encore (vers Montmorency 95) ? Bonne recherche. Cordialement.
il y a 17 ans
Inscrit depuis 18ans oami

oami «Automaticien»

Bonjour ! Désolé, mais mes souvenirs de Gachot dataient : Entreprise introuvable. Une recherche de vos critères m'a amené à télécharger le catalogue proposé sur : , puis une recherche de " radio soudure" sur le catalogue par Adobe Reader me propose "soudure qualité radio" pour : CHAUDRONNERIE BAULOISE 2 rue André Raimbault 45130 BAULE Tél : 02 38 46 94 20 - Fax : 02 38 45 01 57 E-mail : chaudronnerie.bauloise@wanadoo.fr dont le site précise "conforme DESP" J'espère ceci plus positif, bon courage ! Cordialement
il y a 17 ans
Inscrit depuis 18ans oami

oami «Automaticien»

Je redonne les coordonnées non passées car mal formatées par ma faute : Site atelier : http://www.chaudronneriebauloise.com et catalogue :www.bstco.org/upload/catalogue.pdf Cordialement
il y a 17 ans
Inscrit depuis 22ans carole

carole «Chargé de projets»

[Edit by="MODERATOR1"][/Edit] Merci pour vos réponses... J'ai déjà bien avancé entre temps avec la sté ORTOFA à Ottmarsheim du groupe ORTEC => http://www.ortec.fr/html/agence_france_zoom.php?ref=orcofa1#ancre Ils semblent très sérieux et réactifs... Carole